Мобильный маслозаправочный комплекс ММЗК-300-2
Мобильный маслозаправочный комплекс (далее по тесту «установка») предназначен для заливки масла в маслобаки газоперекачивающих агрегатов. С помощью установки выполняются следующие опрерации:
- прием масла в баки установки на складе ГСМ с помощью стационарных насосов склада ГСМ;
- прием масла в баки установки на складе ГСМ с помощью собственных насосов установки;
- подогрев масла в баках установки;
- перевозка масла в баках установки;
- заливка масла в баки ГТД и нагнетателя.
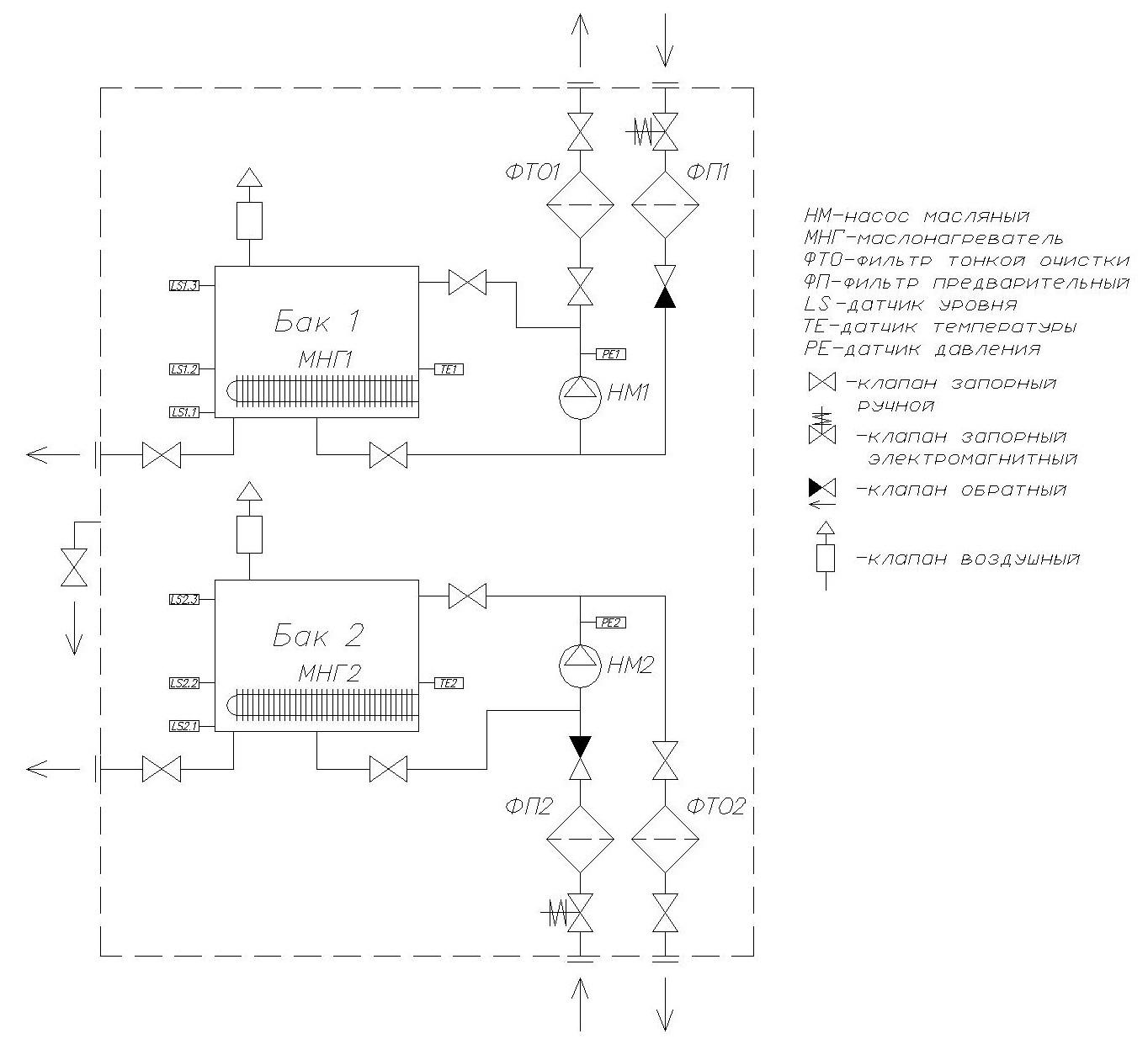
Технологическая часть установки смонтирована в теплоизолированном контейнере, установленном на двухосном автомобильном прицепе. Гидравлическая система установки состоит из двух обособленных маслозаправочных блоков (МЗБ), что позволяет одновременно работать с двумя различными типами масел. Все элементы установки, контактирующие с маслом изготовлены из коррозионностойких материалов.
Маслозаправочный блок состоит из следующих элементов:
- Бак емкостью 300 л;
- Маслонагреватель встроенный в маслобак;
- Масляный насос;
- Фильтр предварительный;
- Фильтр тонкой очистки.
Контрольно-измерительные приборы.
Система управления и автоматики реализована на базе управляющего устройства с напряжением 24 В.
Для контроля и регулирования режимов работы оборудования установлены следующие контрольно-измерительные приборы:
- терморегулятор с датчиком температуры - для контроля и регулирования температуры масла;
- преобразователь давления – для контроля давления масла на выходе из установки и контроля степени загрязнения ФТО;
- датчик уровня масла – защита от перелива масла;
- датчик уровня масла – защита от «сухого» хода масляного насоса;
- датчик уровня масла – блокировка работы маслонагревателя при недостаточном уровне масла.
Технические характеристики установки
| Показатель | Значение |
|---|---|
| Тип перекачиваемой среды | ТП-22С, МС-8П |
| Вязкость перекачиваемой среды | до 500 сСт |
| Установленная мощность установки | 24 кВт |
| Параметры электропитания | 380В, 50Гц, 3фазы+N+E |
| Количество маслозаправочных блоков (МЗБ) | 2 |
| Объем бака одного МЗБ | 300 л |
| Мощность маслонагревателя одного МЗБ | 10 кВт |
| Производительность маслонасоса одного МЗБ | 3 м3/ч |
| Тонкость фильтрации | 5 мкм (25мкм) |
| Подключение маслопроводов | Быстроразъемное соединение с отсечным клапаном Ду20 |
| Характеристики прицепа | |
| Полная масса, не более кг | 3500 |
| Количество осей/колес | 2/4 |
| Тормозная система рабочая | Механическая инерционная |
| Тормозная система стояночная | Ручная |
| Сцепное устройство | Петля/шар |
| Электрооборудование | 24 В |
| Комплектация | Колесо опорное - 1 шт. Стойка опорная - 4шт. Колесо запасное с кронштейном |
| Размеры установки | 4700х2300х2250 |
Схема установки

Комплект поставки
Установка в сборе;
Комплект напорных и сливных шлангов с быстросъемными соединениями;
Запасные фильтроэлементы для ФТО – 6 шт.;
Барабан для хранения шлангов – 4 шт.;
Кабель силовой с кабельной вилкой L=30 м;
Кабель заземления L=30 м;
Барабан для хранения кабеля;
Комплект огнетушителей;
Устройство упорное автомобильное – 2 шт.;
Комплект технической документации.